
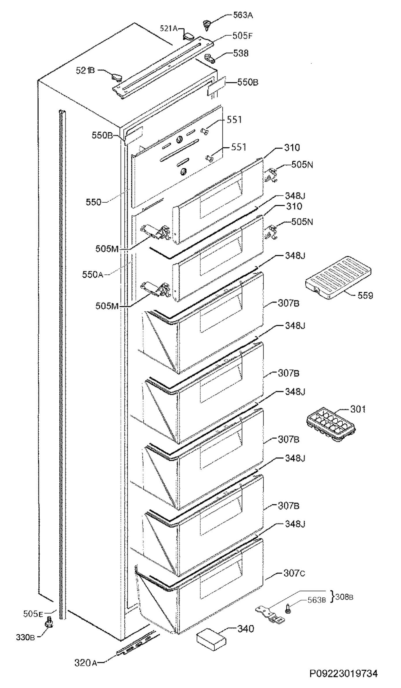
Smeg Fridge & Freezer S7220FNDP (92278201401) Condensers
Exploded View Diagrams
4 diagramsFind Your Spare Part
Clear All01
Next Day Delivery
Order by 4pm
Genuine Parts
Quality guaranteed
UK & Ireland
Fast shipping
Expert Help
Parts advice available
